|
亮点:
镜面抛光工艺,外观亮如明镜。感应窗位于较高位置,可搭配时尚简约的台上盆,让卫浴空间更加灵动多变。
功能与特点:
① 智能节水:通过感应部件,手一伸水即来,手一收水即停。
② 方便卫生:手不需接触金属物件,出水由感应器自动完成。达到了方便、卫生、有效避免细菌交叉感染。
③ 节能省电:直流产品使用4节5号碱性电池时,每天使用300次,2年内无须更换电池。
④ 维护方便:内置过滤网的设置可方便清除水路中沙石等固体物质。
⑤ 美观新颖:方圆形结合设计,迎合现代简单生活潮流。
⑥ 超时功能:当连续使用时间超过1分钟,机器将自动关水,避免因异物长时间在感应范围内造成水资源的浪费。
⑦ 内置冲水电磁阀、柔水器,出水均匀流畅,使用方便。
⑧ 获取认证:产品已获得节水认证,符合节水标准。
技术指标参数:
① 供电电源:DC 6V/~220V(根据不同需求选用:直流6V电池或交流220V电源供电)
② 静态功耗:≤0.5mW(D.C )/≤3W(~)
③ 适用温度:0-55℃
④ 感应范围:33cm(±15%)(对29.7cm×29.7cm)
⑤ 进出水管径:(DN15)G1/2″
⑥ 适用水压:0.05MPa - 0.6MPa
⑦ 龙头体尺寸:65x160x320mm
⑧ 执行标准:CJ/T 194-2004
材质说明:
① 龙头体:黄铜镀铬
② 控制盒:工程ABS
③ 进出水件:黄铜
④ 管材锁件:304不锈钢
产品展示:
.jpg)
.png)
.png)
.png)
.png)
.png)
产品尺寸图:
.jpg)
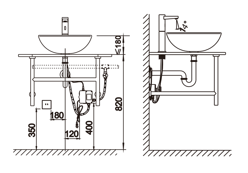
安装尺寸图:
.png)

|