|
亮点:
方圆形结合设计,美观新颖,迎合现代简单生活潮流。
功能与特点:
① 智能节水:通过感应部件,手一伸水即来,手一收水即停。
② 方便卫生:手不需接触金属物件,出水由感应器自动完成,有效避免细菌交叉感染。
③ 节能省电:直流产品使用4节5号碱性电池时,每天使用300次,2年内无须更换电池。
④ 维护方便:内置过滤网的设置可方便清除水路中沙石等固体物质。
⑤ 超时功能:当连续使用时间超过1分钟,机器将自动关水,避免因异物长时间在感应范围内造成水资源的浪费。
⑥ 内置冲水电磁阀、柔水器,出水均匀流畅,使用方便。
⑦ 获取认证:产品已获得节水认证,符合节水标准。
技术指标参数:
① 供电电源:DC 6V/AC 220V(根据不同需求选用:直流6V电池或交流220V电源供电)
② 静态功耗:≤0.6W(AC) (当使用4节5号碱性电池时,按每天使用300次计算,约可使用2年)
③ 适用温度:1 - 55℃
④ 感应范围:33cm(±10%)(对标准29.7cm×29.7cm,表面附70g木浆复印纸的光洁板材模拟板)
⑤ 进出水管径:(DN15)G1/2″
⑥ 适用水压:0.05MPa - 0.6MPa (最佳设计水压0.1-0.3MPa)
⑦ 龙头体尺寸:64x186x172mm
⑧ 执行标准:CJ/T 194
材质说明:
① 龙头体:黄铜镀铬
② 控制盒:工程ABS
③ 进出水件:黄铜
④ 管材锁件:304不锈钢
产品展示:
.jpg)

(1).jpg)
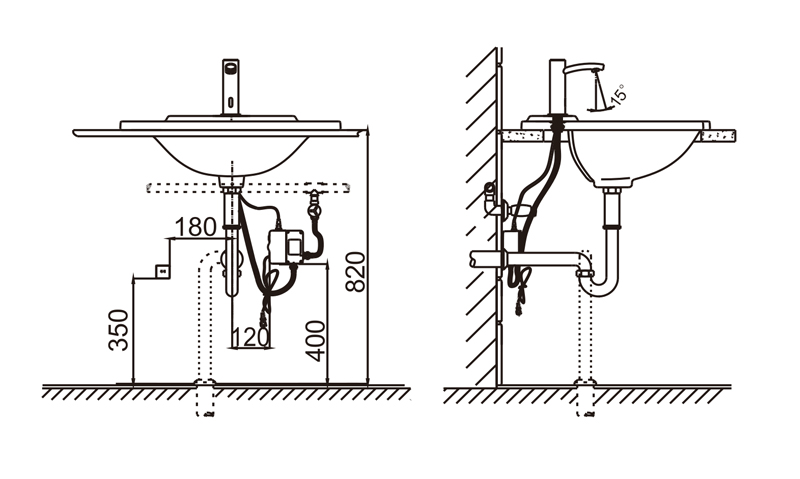
产品尺寸图:

安装尺寸图:
.png)

|